黑龙江省牡丹江林业中心医院

医院动态

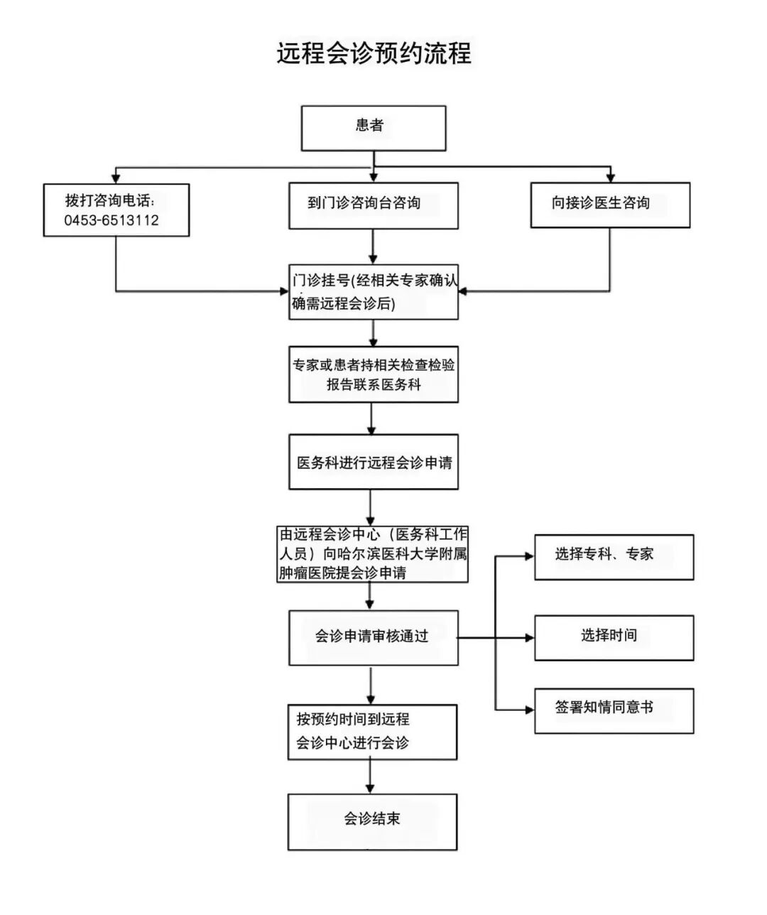
黑龙江省牡丹江林业中心医院远程会诊中心公告

来源:     发布时间:2025-06-05

图片

为进一步优化医疗服务流程,提高患者就医体验,降低就医成本,黑龙江省牡丹江林业中心医院远程会诊中心依托“互联网+”技术,与哈尔滨医科大学附属肿瘤医院已建立远程会诊协作关系,为患者提供便捷的远程医疗服务。现将远程会诊预约流程及有关事宜公告如下:

预约时间:

每周一至周五 上午:8:00—11:30 下午:13:30—16:30(法定节假日除外)

预约电话:0453-6513112

联系地点:黑龙江省牡丹江林业中心医院行政楼二楼医务科

图片
图文|张佰君
制作|尚余全
一审|张佰君
二审|李雪莲
三审|杨喜魁

图片